|
FZN21-12D户内真空负荷开关-熔断器组合电器
FZN21-12D户内真空负荷开关-熔断器组合电器
FZN21-12D/T630-20 、FZN21-12DR/T125-31.5型高压真空负荷开关及组合电器用于三相交流12KV、50Hz的配电系统中,具有结构紧凑、体积小、重量轻、寿命长、关合开断能力强、安全可靠等优点,与熔断器配合使用(简称组合电器),可替代造价较高的断路器,其操作和维护简单方便。
型号含义
使用环境条件
· 海拨高度≤1000m;
· 周围环境温度-25℃~+40℃;
· 相对湿度:日平均值不大于95%,月平均值不大于90%;
· 无导电性尘埃、腐蚀性气体和水蒸气的场所;
· 无火灾和爆炸危险的场所;
· 无剧烈震动、倾斜度小于3°的场所。
负荷开关的技术参数
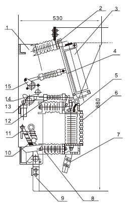
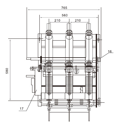
安装尺寸
外形尺寸图

